目前微软旗下主要的 Surface 产品均支持了自家的触控笔(Surface Pen),然而,相较于苹果 iPad、华为 MatePad,缺失了极为方便的吸附式无线充电功能。
相反,Surface Pen 维持运作仍需要购买相对小众的 9 号电池(AAAA)。
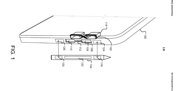
不过局面很可能会发生变化。微软 2019 年 10 月 21 日提交,日前公开的专利显示,就介绍了在平板边框集成感应式无线充电线圈的技术。

尽管专利往往有“占坑”的成分存在,但考虑到 Surface 对微软的重要性,以及竞品的完成度,有理由相信微软很快配备这项技术。
其实,熟悉 Surface 的用户应该知道,随 Surface Pro X 推出的超薄触控笔就内置了电池,可配合 USB-C 充电底座或者 Surface Pro X 专用键盘盖充电,可坦率来说,这显得依然麻烦。

图为 Surface Pro X