8 月,微软宣布了其首款双屏手机 Surface Duo 的上市时间和规格。虽然 Surface Duo 的想法令人印象深刻,但有些人并不喜欢它运行 Android 系统。当然我们也知道,微软正在开发一款名为"Surface Neo"的基于 Windows 10X 系统的双屏设备。
但是,"Surface Neo"在美国市场的发布时间被推迟到至少 2022 年,其他市场应该会在稍后的某个时间点上市,但 Neo 的命运很大程度取决于 Windows 10X 的开发进展。
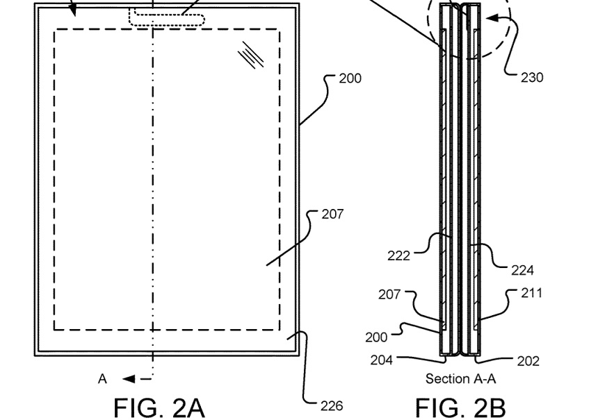
根据一项新的专利,微软还在考虑推出一款可折叠手机,设备包括了铰链,当用户将显示屏放置在平板电脑位置(展开)时,其内部使用了S形结构。

在 8 月份公布的这份申请文件中,微软指出,该专利硬件运行 Windows 10,并支持金属框架带来的 360 度屏幕翻转。该设备还带来了"平面视图"的功能,将主显示屏隐藏在盖板玻璃下,通过在外部配备单独的屏幕和设备边缘的屏幕,使计算设备的一个边缘仍然可见。

专利想法可能不会转化为真正的产品,但我们可以期待在即将推出的 Surface Duo 和其他双屏手机版本中进行类似的改进。